Startseite
Allgemein
Guppyzucht
Probleme
Bildergalerie
Downloads
Private Links
Gästebuch
 



In diesem Bereich wird noch gearbeitet!


Es gibt  einige  von  Flossenformen die beim  Guppy entstehen können.  Dies hängt von einigen Faktoren ab. Eine besondere Rolle ist die für das Gen verantwortliche Grau oder Blond der Tiere. Und nicht zuletzt  zu erwähnen die  Flossenformen  der  Elterntiere.  Hier habe ich eine Graphik erstellt  die für  Hochzuchttiere  bei  der  IKGH  relevant sind.  Es ist aber zu beachten, daß die Schwanzflosse bzw. die Rückenflosse ein bestimmtes Verhältnis zur Körpergröße haben sollte.

Zum Hinweis:

Die  Farben und  Muster  in dieser Graphik sind von mir frei  erfunden! 


Mit den Farben beim Guppy meint man die Grundfarbe und die Deckfarbe. Bei der Grundfarbe ist dies aber nicht immer leicht zu erkennen.  Am besten schaut  man von oben ins  Becken und es werden dunkle oder helle Tiere im Nackenbereich zu erkennen sein.

Folgende Grundfarben sind mir derzeit bekannt:           Grau, Silber, Blau, Weiß, Gold und Blond
Die  ursprüngliche  Grundfarbe der  Guppys  ist  Grau.  Es  kann  aber  auch  vorkommen, daß bestimmte  Farbzellen unterdrückt bzw. überlagert werden (fehlende männliche Sexualhormone).

Sind Tiere mit derselben Grundfarbe vorhanden so lassen sie sich auch weiterzüchten mit dieser. Werden  jedoch zwei  unterschiedliche  gemischt so könnte  eine neue entstehen. Es hat jedoch Auswirkungen auf Flossenform und Deckfarbe!
Bei einer zufälligen Zucht von einem grauen und einem blonden Tier ergab sich bei mir ein Wurf mit den unterschiedlichsten Flossen und Farben. Fotos sind in Arbeit.


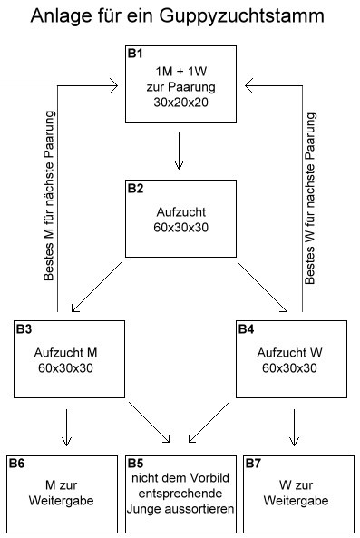
In dieser Zeichnung wird erläutert wie eine Anlage für die Guppyzucht aussehen könnte.




B1: Hier wird 1 Männchen und 1 Weibchen eingesetzt  wovon die  Zucht  ausgehen  soll.  Das M sollte etwa 2 Tage darin belassen werden.  Das W  dürfte jetzt befruchtet sein.  Nach 4 Wochen schlüpfen die  voll ausgebildeten Jungtiere und das  W  wird nun aus dem Becken entfernt. Jetzt bleiben die Jungen noch ca. 4 Wochen in diesem.

B2: Die  Jungen aus  B1  werden  hierher  überführt.  Diese  verbleiben nun ca.  2 Monate  bis zu erkennen ist was M und W ist.  Jetzt selektiert man die  Gechlechter und gibt sie entweder in B3 oder B4.

B3 + B4: In diesen Becken hält man die Tiere bis sie eine Größe haben wo ersichtlich ist welche weitergezüchtet werden sollen und nicht. Dann gibt man sie entweder in B5, B6 oder B7.

Die  Zuchtbecken  können ohne Kies und Pflanzen  betrieben  werden, dies hat den  Vorteil einer besseren  Reinigung und  Übersicht. Ich bevorzuge jedoch eine  Aufzucht mit Kies und Pflanzen.
Auf  jeden Fall  sollten aber  Schwimmpflanzen in  B1 eingesetzt  werden, um den  jungen einige Versteckmöglichkeiten  zu  bieten.  Die  angegebenen  Beckengrößen  sollten  als  minimum verstanden sein!


Steht die  Zuchtanlage,  so könnten wir uns auf die Suche nach geeigneten  Zuchttieren machen.
Am besten wäre es sich Tiere von einem nichtkommerziellen Züchter zu besorgen, da dieser den größten  Wert auf sene  Tiere legt.  Händler dagegen beziehen fast immer diese von Züchter aus Asien.  Diese legen selten  Wert auf das  was wir brauchen.  Sehr oft  sind es  Nachzuchten die nicht Erbfest sind. Dies hätte zur Folge junge zu bekommen die dann weniger Ähnlichkeit hätten als die Eltern.

Möchten wir uns einen neuen Zuchtstamm zulegen?   Ok!
Es ist aber hierbei zu beachten was wir erreichen wollen. Dazu sollte man sich ein wenig mit der Genetik beschäftigen um das gewünschte Ergebnis zu erhalten.

Haben wir Tiere gefunden die eventuell das Ergebnis bringen könnten,  so sollen sie sich paaren. Von diesen Jungtieren suchen wir nun das beste M und W  und paaren diese wieder. Die daraus entstehende  Jungschar  entnehmen wir ein W  und  tun dieses mit dem M  aus der ersten Zucht zusammen.  So verfahren wir bis die  5. Generation erreicht wurde!  Immer mit dem M der ersten Nachzucht.
Nun haben wir einen Erbfesten Stamm. Es kann natürlich auch hier noch vorkommen daß einige Tiere bei den Nachkommen von dem uns vorgestelltem Ideal abweichen. Diese sollten dann nicht für die Weiterzucht verwendet werden.
Eine Skizze oder Tabelle wird hier noch eingefügt





Diese Seite wurde aktualisiert am 13.03.06

 
Top